螺纹支管台简介:
管座是国外近年来应用较多的,用于支管连接的补强型管件,代替传统使用的异径三通、补强板、加强管段等支管连接型式,具有安全可靠、降低造价、施工简单、改善介质流道、系列标准化、设计选用方便等突出优点,尤其在高压、高温、大口径、厚壁管道中使用日益广泛,取代了传统的支管连接方法。 管座本体采用优质锻件,用材与管道材料相同,本公司在碳钢、合金钢、不锈钢等多种材质供用户选用。管座与主管均采用焊接,支管台与支管或其他管(如短管、丝堵等)、仪表、阀门的连接有对焊、承插焊、螺纹等多种型式。
螺纹支管台实物图:(网上产品图片仅供参考,交货按实物为准)
![]() | ![]() |
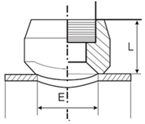
螺纹支管台结构图 (Threadolet Structure)
![]() | ![]() |
螺纹支管台 Threaded Outlet | 螺纹支管台 Threaded Outlet |
螺纹支管台参数表
执行标准:MSS SP-97、GB19326、Q/FG11
支管公称通径Nominal Diameter of Branch | 适用主管公称通径Nominal Diameter of Suited Main Pipe不小于≥ | L | E | ||||
DN | NPS | DN | in | 3000LB | 6000LB | 3000LB | 6000LB |
6 | 1/8 | 20 | 3/4 | 19.1 | - | 15.9 | - |
8 | 1/4 | 20 | 3/4 | 19.1 | - | 15.9 | - |
10 | 3/8 | 25 | 1 | 20.6 | - | 19.1 | - |
15 | 1/2 | 32 | 1.1/4 | 25.4 | 31.8 | 23.8 | 19.1 |
20 | 3/4 | 40 | 1.1/2 | 27 | 36.5 | 30.2 | 25.4 |
25 | 1 | 50 | 2 | 33.3 | 39.7 | 36.5 | 33.3 |
32 | 1.1/4 | 65 | 2.1/2 | 33.3 | 41.3 | 44.5 | 38.1 |
40 | 1.1/2 | 65 | 2.1/2 | 34.9 | 42.9 | 50.8 | 49.2 |
50 | 2 | 80 | 3 | 38.1 | 52.4 | 65.1 | 69.9 |
60 | 2.1/2 | 100 | 4 | 46 | - | 76.2 | - |
80 | 3 | 125 | 5 | 50.8 | - | 93.7 | - |
100 | 4 | 150 | 6 | 57.2 | - | 120.7 | - |
说明:
1、锥管螺纹可按ANSI B1.20.1 NPT或ISO7/1Rp或Rc锥管螺纹,尺寸同支管公称通径(in)用户需注明锥管螺纹代号。
2、表列“适用主管公称直径”为一般用途,如需用于更小的主管尺寸应与制造厂协商。
3、按下表选用支管台的压力等级:
压力等级 Pressure Grade | 适用支管壁厚等级 Suitable shedule of branch |
3000Lb | Sch40、 Sch80、 STD、 XS |
6000Lb | Sch160 XXS |
4、螺纹支管台仅适用于国际通用系列的钢管(英制管)。
5、定货时必须注明主管及支管支管公称尺寸、压力等级、材料牌号、螺纹代号。




