弯头,三通,四通简介:
螺纹弯头在管路系统中是改变管路方向的管件。按角度分,有45°及90°,另外根据工程需要还包括60°等其他非正常角度弯头。螺纹弯头的材料有碳钢、不锈钢、合金钢等。根据客户要求也可加工成内外丝弯头。
螺纹三通在制作工艺中分为锻制和铸造两种,锻制是指用钢锭或圆棒加热锻打成型后,上车床加工螺纹后而成,铸造是指将钢锭熔化后倒入三通的模型后,待其冷却后而成。因为制造工艺的不同,其承受压力的大小也不同,锻制的耐压要远高于铸造的。
螺纹四通是工业用管道配件的一种,其主要功能是对所经过的介质进行分流。在制作工艺中分为锻制和铸造两种。螺纹四通的主要制造标准一般有GB/T14383、ASME B16.11、BS 3799。
广泛用于国内大型电站配套工程,海水、蒸汽、冷水、热水、氧气、饮水、制冷、油、燃气、医用气体污水处理工程,市政工程,化工,炼油,冶金,化肥,造纸,医药等行业等。
弯头,三通,四通实物图:(网上产品图片仅供参考,交货按实物为准)
![]() | ![]() | ![]() | ![]() |
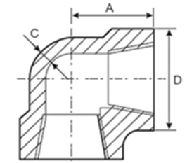
螺纹弯头、三通、四通结构图 (Threaded Elbow、Tee、Cross Structure)
![]() | ![]() | ![]() | ![]() |
45°弯头 45°Elbow | 90°弯头 90°Elbow | 三通 Tee | 四通 Cross |
弯头,三通,四通参数表
公称通径 Nominal Diameter | 中心至端面 Center to End | 外径Outside Diameter D | 壁厚Wall Thickness | 螺纹长度Length of Thread | |||||||||||
A | D | Cmin | |||||||||||||
弯头、三通、四通Elbow、Tee、Cross | 45°弯头45°Elbow | ||||||||||||||
DN | NPS | 2000LB | 3000LB | 6000LB | 2000LB | 3000LB | 6000LB | 2000LB | 3000LB | 6000LB | 2000LB | 3000LB | 6000LB | NPT | Rc |
Sch80 | Sch160 | XXS | Sch80 | Sch160 | XXS | Sch80 | Sch160 | XXS | Sch80 | Sch160 | XXS | ||||
6 | 1/8 | 21 | 21 | 25 | 17 | 17 | 19 | 22 | 22 | 25 | 3 | 3 | 6.5 | 6.5 | 6.5 |
8 | 1/4 | 21 | 25 | 29 | 17 | 19 | 22 | 22 | 25 | 33 | 3 | 3.5 | 6.5 | 8 | 10 |
10 | 3/8 | 25 | 29 | 33 | 19 | 22 | 25 | 25 | 33 | 38 | 3 | 3.5 | 7 | 9 | 10.5 |
15 | 1/2 | 29 | 33 | 38 | 22 | 25 | 29 | 33 | 38 | 46 | 3 | 4 | 8 | 11 | 13.5 |
20 | 3/4 | 33 | 38 | 44 | 25 | 29 | 33 | 38 | 46 | 56 | 3 | 4.5 | 8.5 | 12.5 | 14 |
25 | 1 | 38 | 44 | 51 | 29 | 33 | 35 | 46 | 56 | 62 | 3.5 | 5 | 10 | 14.5 | 17.5 |
32 | 1.1/4 | 44 | 51 | 60 | 33 | 35 | 43 | 56 | 62 | 75 | 4 | 5.5 | 10.5 | 17 | 18 |
40 | 1.1/2 | 51 | 60 | 64 | 35 | 43 | 44 | 62 | 75 | 84 | 4 | 5.5 | 11 | 18 | 18.5 |
50 | 2 | 60 | 64 | 83 | 43 | 45 | 52 | 75 | 84 | 102 | 4.5 | 7 | 12 | 19 | 19 |
65 | 2.1/2 | 76 | 83 | 95 | 52 | 52 | 64 | 92 | 102 | 121 | 5.5 | 7.5 | 15.5 | 23.5 | 29 |
80 | 3 | 86 | 96 | 106 | 64 | 64 | 79 | 110 | 121 | 146 | 6 | 9 | 16.5 | 26 | 30 |
100 | 4 | 106 | 114 | 114 | 79 | 79 | 79 | 146 | 152 | 152 | 6.5 | 11 | 18.5 | 27.5 | 33 |
上述尺寸符合GB/T14626、ANSI B16.11、BSP3799标准
Above dimensions acc.to the standard of GB/T14626、ANSI B16.11、BS3799
备注(note):客户定货时需注明螺纹型号








